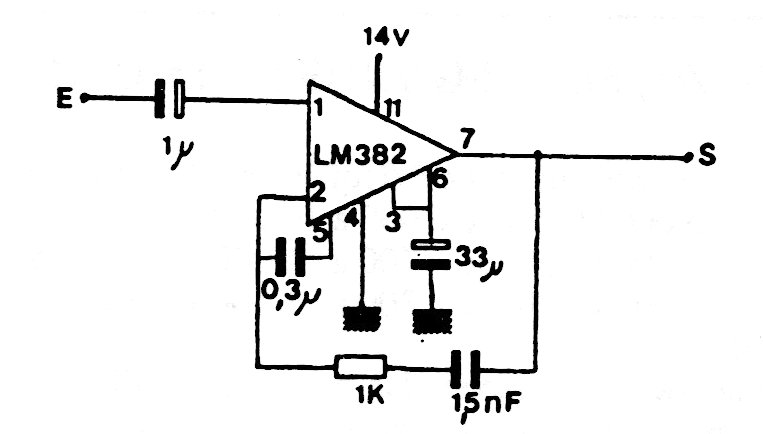
This circuit from the 1980s uses an operational amplifier that is uncommon today. The circuit can be designed with modern operators. The gain is 40 dB.
When the voltage exceeds the value given by the zener, this circuit from a 1990 documentation...
This circuit for the 11-meter band, operating at 29.255 MHz was found in a Radio Electronics dated...
Found in a Popular Electronics from the 9s, this circuit has output for RS-232 interfaces and current...