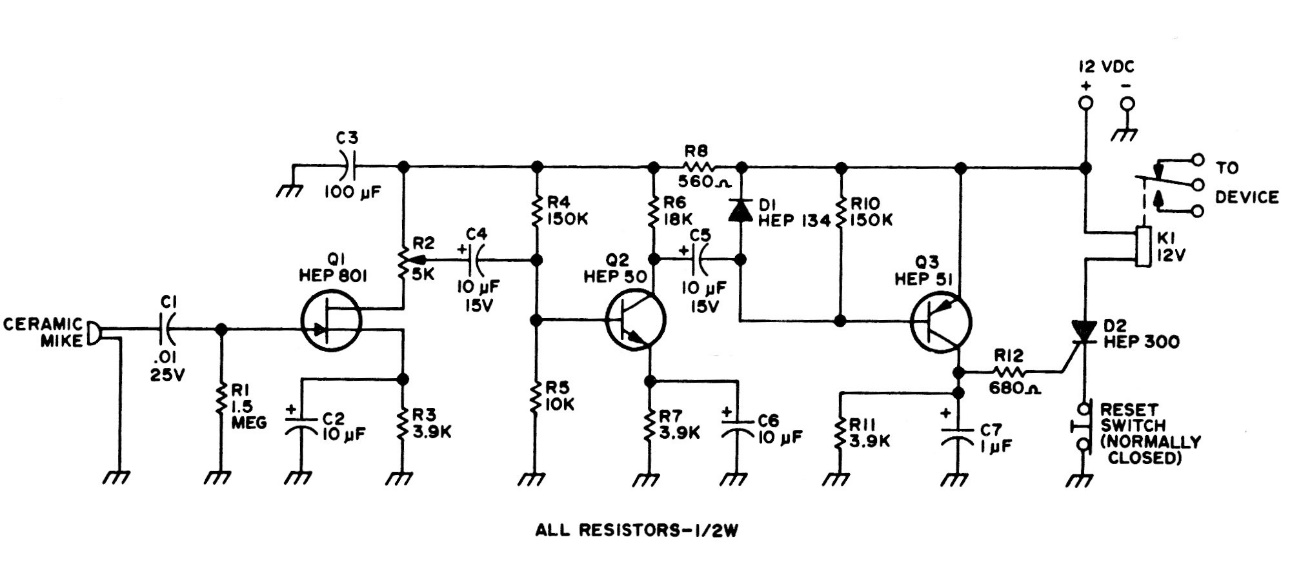
This Vox or sound activated relay was found in an American documentation from 1975. Equivalent transistors can be used, and the SCR can be a TIC106. The relay is according to the supply voltage.
This circuit triggers an alarm when the mains power is cut off. The circuit was found in the July...
This acutely tuned circuit was found in American documentation from the 1960s. The transistors are germanium...
This small AM transmitter was found in American documentation from the 1980s. Transistor support...