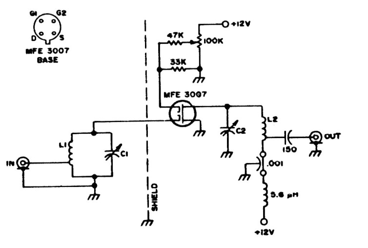
We found this 150 MHz preamplifier with 20 dB of gain in a documentation from the 1980s. The FET used is of an unusual type, and double-gate equivalents can be used. The circuit is very critical for the frequency at which it operates.
We found this 150 MHz preamplifier with 20 dB of gain in a documentation from the 1980s. The FET used is of an unusual type, and double-gate equivalents can be used. The circuit is very critical for the frequency at which it operates.