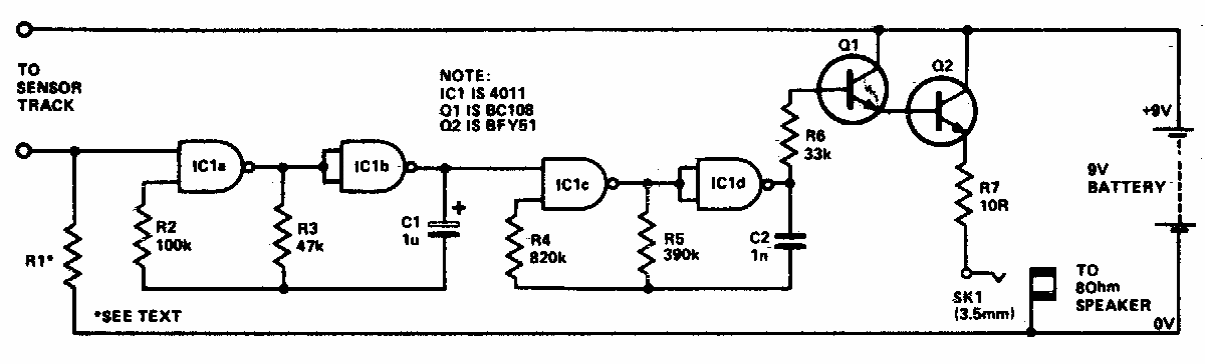
This simple rain, leak or moisture detector circuit appears in other places on this site with slight variations. This was obtained in an English documentation from the 70s.
We found this test circuit in a March 1967 Radio Electronics. The circuit uses a zener-regulated supply and...
We found this circuit in a 1995 publication. It applies to transceivers in the citizen's range (11...
The figure shows how to associate flip-flops in a shift register to obtain a lower frequency...