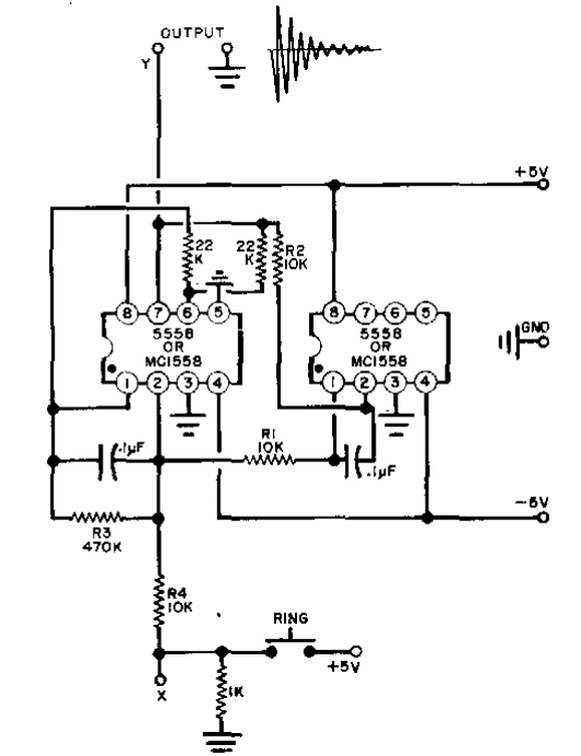
This circuit is from a Popular Electronics from the 80's. The components used are not common today. The circuit generates a damped signal that mimics a bell.

This circuit is from a Popular Electronics from the 80's. The components used are not common today. The circuit generates a damped signal that mimics a bell.
