I
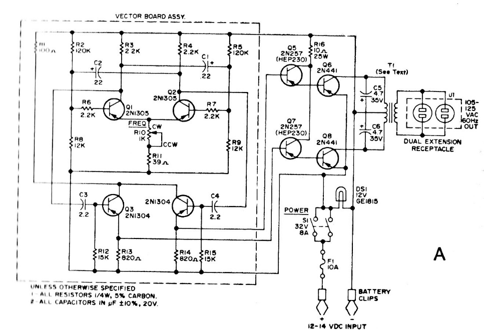
This well-crafted circuit was found in an American documentation from 1975. The components are from the time, but modern equivalents can be tested. The transformer is the critical component determining the performance of the circuit.
I
This well-crafted circuit was found in an American documentation from 1975. The components are from the time, but modern equivalents can be tested. The transformer is the critical component determining the performance of the circuit.