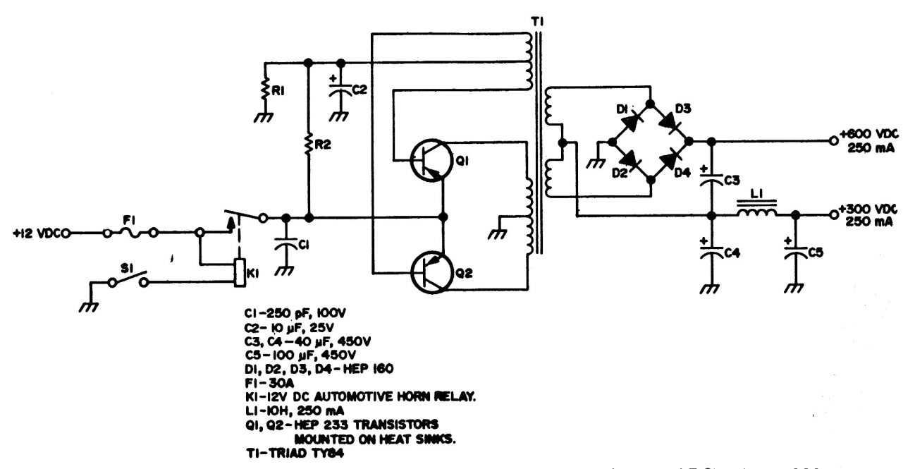
Originally this circuit was designed to power tube transceiver equipment in the car, using a 12 V battery. The circuit is from American documentation from the 1980s and the critical component is the transformer.
Originally this circuit was designed to power tube transceiver equipment in the car, using a 12 V battery. The circuit is from American documentation from the 1980s and the critical component is the transformer.