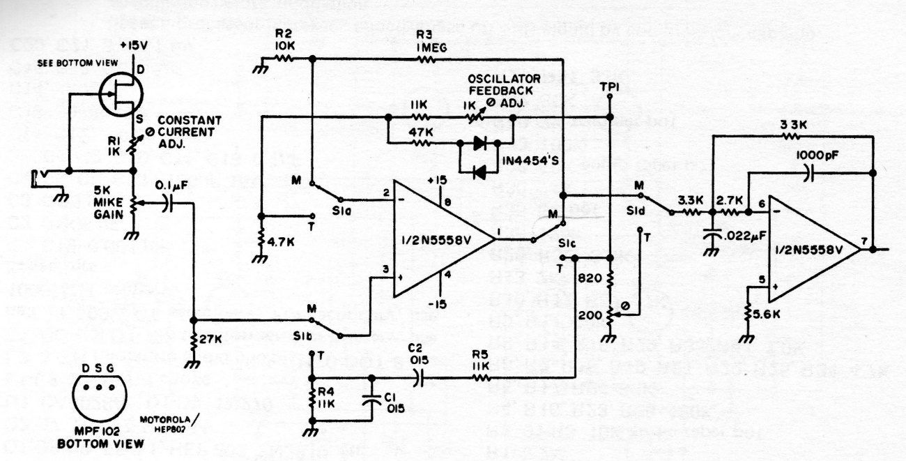
This is a combined circuit of tone generator and preamplifier. We found it in a 1975 documentation. Operational amplifiers of that time can be replaced by modern equivalents.
The operational amplifier is not very common today, but in its place an equivalent, even of...
We found this circuit in a documentation from 1966. The transformer is output for transistors. Resistors...
This circuit in the National Semiconductor Fast IC Power Transistor manual uses a special power...