This receiver of two transistors for the 3.5 MHz band was found in a circuit manual from the 80's. The coil data are found next to the diagram and the transistors can be general purpose PNP.
This circuit triggers an alarm when the mains power is cut off. The circuit was found in the July...
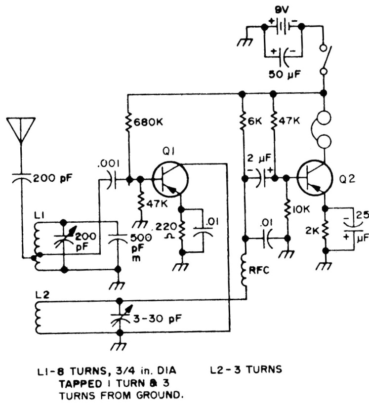
This acutely tuned circuit was found in American documentation from the 1960s. The transistors are germanium...
This small AM transmitter was found in American documentation from the 1980s. Transistor support...