This circuit is from old documentation, but it can be implemented with modern transistors such as 2N2222 for bipolar and BF124 for FET. The crystal determines the operating frequency.
We found this complementary simetry configuration in a1980s documentation. Transistors, which are...
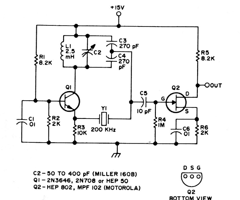
This circuit was obtained from the May 1971 issue of Radio Electronics magazine and is intended for...
This circuit acts as a VU-meter when connected at the output of any audio amplifier, triggering a...