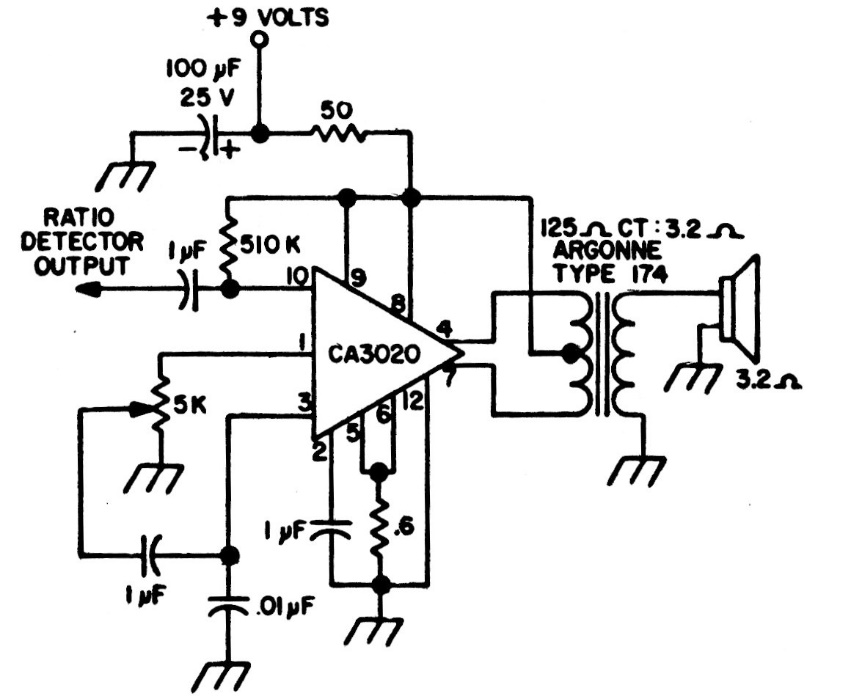
This small audio amplifier uses an uncommon integrated circuit today. The circuit is from a documentation from the 70s and is indicated for portable receivers of the time.
This circuit causes the relay to be energized when the input voltage exceeds the voltage value of...
The maximum frequency of this circuit is 500 kHz. We found it in a documentation for radio...
The mains cables work as antennas. We can take advantage of them with this circuit that consists of a...