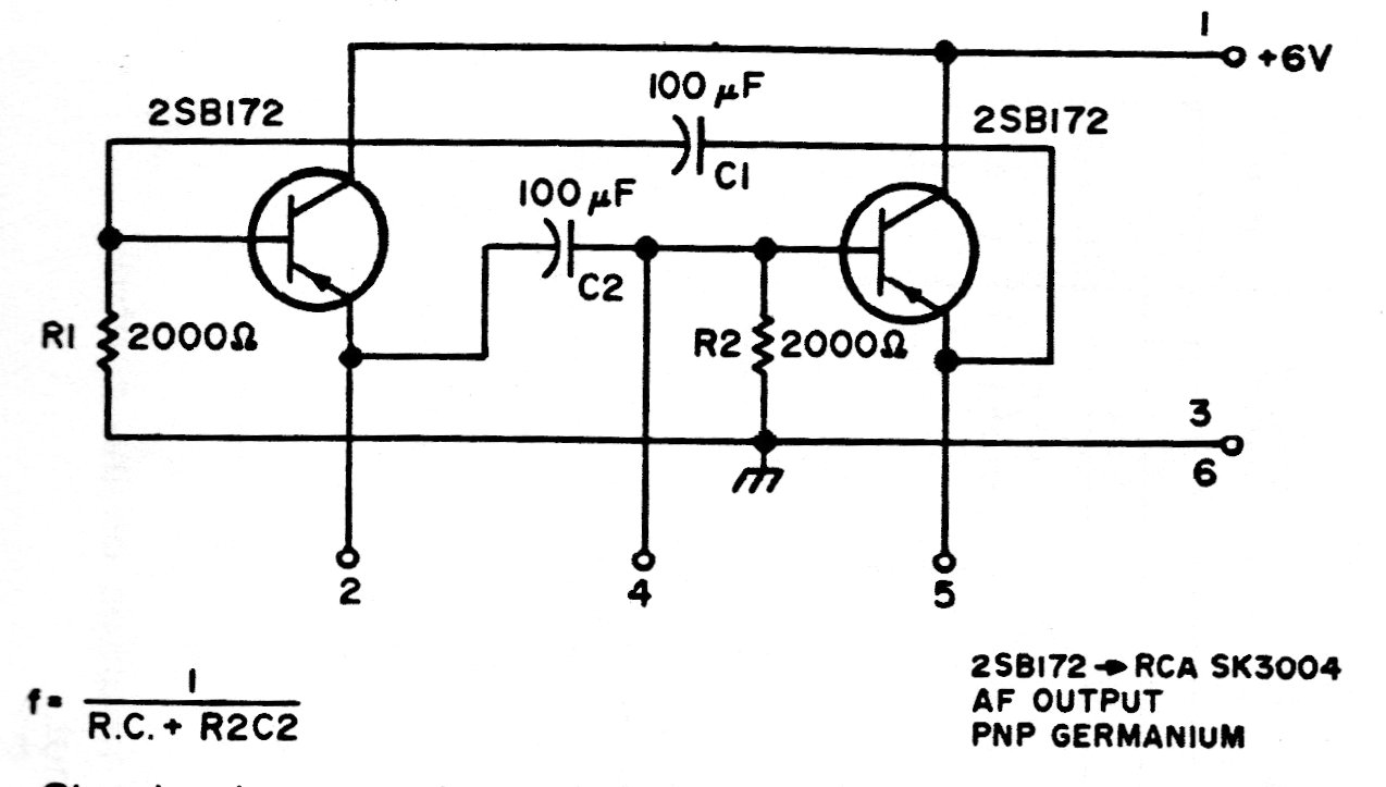
We found this circuit in a publication from the 1980s. Transistors can be replaced by current equivalents. The circuit is for 6 V and the capacitors determine the frequency of the oscillations.
This circuit causes the relay to be energized when the input voltage exceeds the voltage value of...
The maximum frequency of this circuit is 500 kHz. We found it in a documentation for radio...
The mains cables work as antennas. We can take advantage of them with this circuit that consists of a...