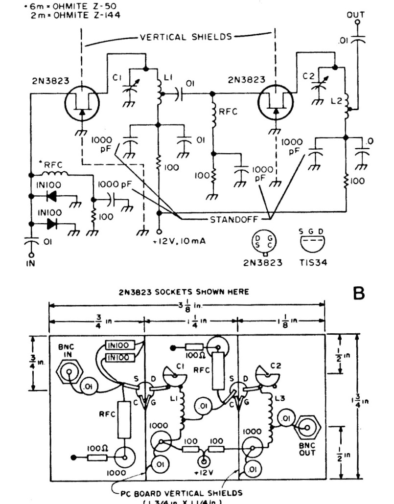
This preamplifier for the 6 or 2-meter range was obtained from an American documentation from the 1980s. FETs can be modern equivalents and no information about the coils is given.
This circuit was found in a 1977 documentation. With it we have the direct indication, through LEDs...
In the figure we have the CMOS logic test circuit developed with the 4049. The circuit activates three...
This headlight reminder for your car was found in the May 1970 issue of Radio Electronics...