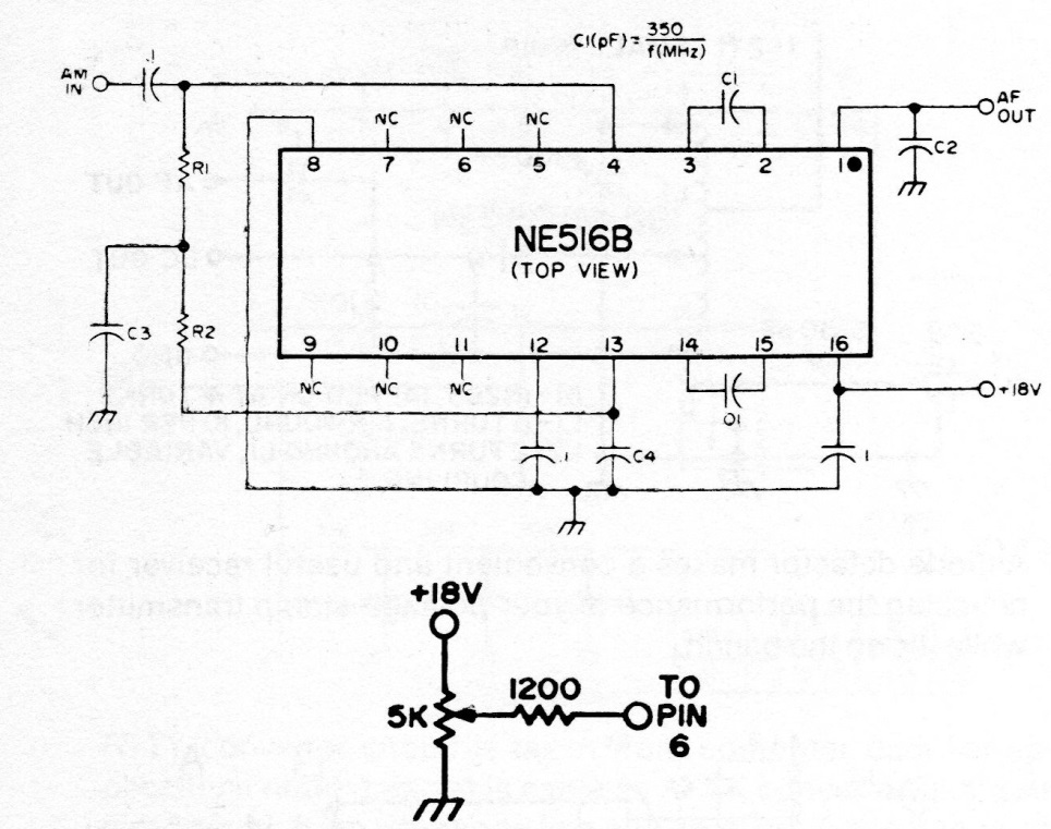
This circuit that uses potentiometer tuning, was found in a documentation from the 80's. The integrated circuit used is from that time and is a not common today.
This simple circuit can be used in a robot that follows the light directly feeding a small motor....
This circuit was found in a 1995 documentation. It drives a set of sequential LEDs from the sound...
This circuit can be used in an experimental link for educational purposes. based on an integrated 4093....