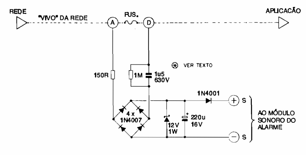
This circuit is from an old documentation from the 80's. The circuit provides an output signal for a warning or alarm system that indicates when a fuse or circuit breaker opens.
We found this complementary simetry configuration in a1980s documentation. Transistors, which are...
This circuit was obtained from the May 1971 issue of Radio Electronics magazine and is intended for...
This circuit acts as a VU-meter when connected at the output of any audio amplifier, triggering a...