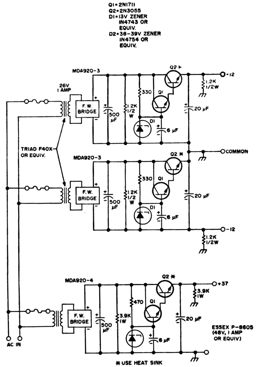
This powerful source was obtained in an American documentation of the 80s. Some components are from the time, admitting modern equivalents. Power transistors must be equipped with good heat sinks.
This powerful source was obtained in an American documentation of the 80s. Some components are from the time, admitting modern equivalents. Power transistors must be equipped with good heat sinks.