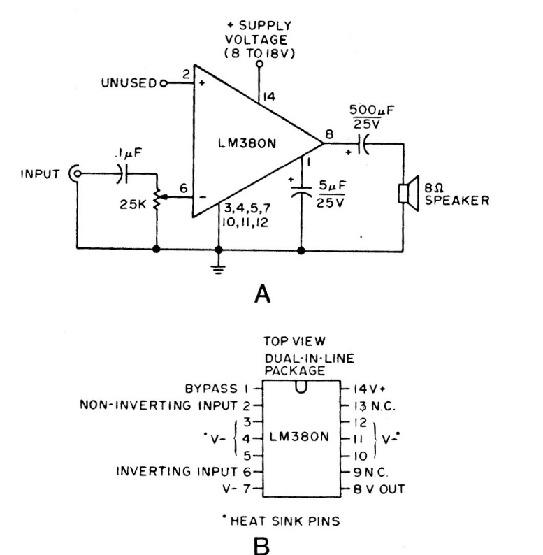
This factory circuit appears elsewhere on this site. This is from a 1975 National technical documentation.
We found this complementary simetry configuration in a1980s documentation. Transistors, which are...
This circuit was obtained from the May 1971 issue of Radio Electronics magazine and is intended for...
This circuit acts as a VU-meter when connected at the output of any audio amplifier, triggering a...