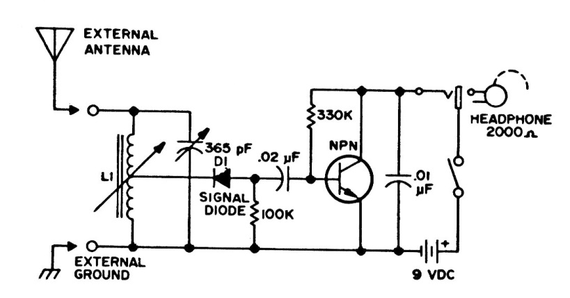
This medium wave radio works with any general purpose NPN transistor. The diode must be made of germanium and a coil formed by 50 + 50 turns of wire 26 to 30 on a ferrite rod.
This circuit was found in a 1977 documentation. With it we have the direct indication, through LEDs...
In the figure we have the CMOS logic test circuit developed with the 4049. The circuit activates three...
This headlight reminder for your car was found in the May 1970 issue of Radio Electronics...