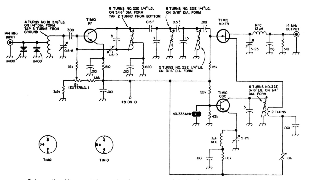
This converter for the 150 MHz band was found in an American documentation. Transistors are uncommon today and equivalents can be used.
This circuit causes the relay to be energized when the input voltage exceeds the voltage value of...
The maximum frequency of this circuit is 500 kHz. We found it in a documentation for radio...
The mains cables work as antennas. We can take advantage of them with this circuit that consists of a...