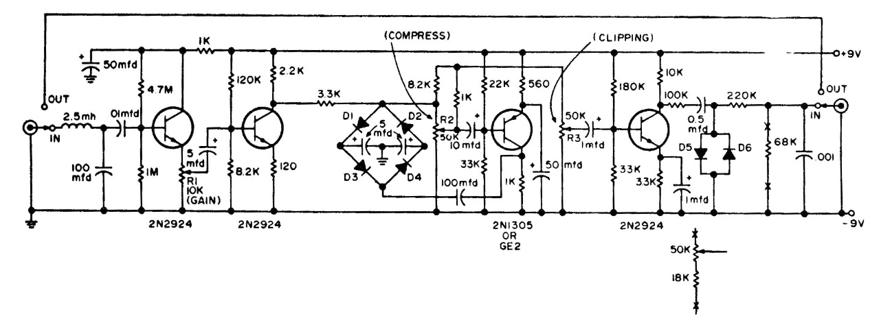
This circuit processes the audio signal that corresponds to a word to make it more appropriate to modulate a transmitting system. The circuit is a documentation for radio amateurs of the 70s.
This circuit processes the audio signal that corresponds to a word to make it more appropriate to modulate a transmitting system. The circuit is a documentation for radio amateurs of the 70s.