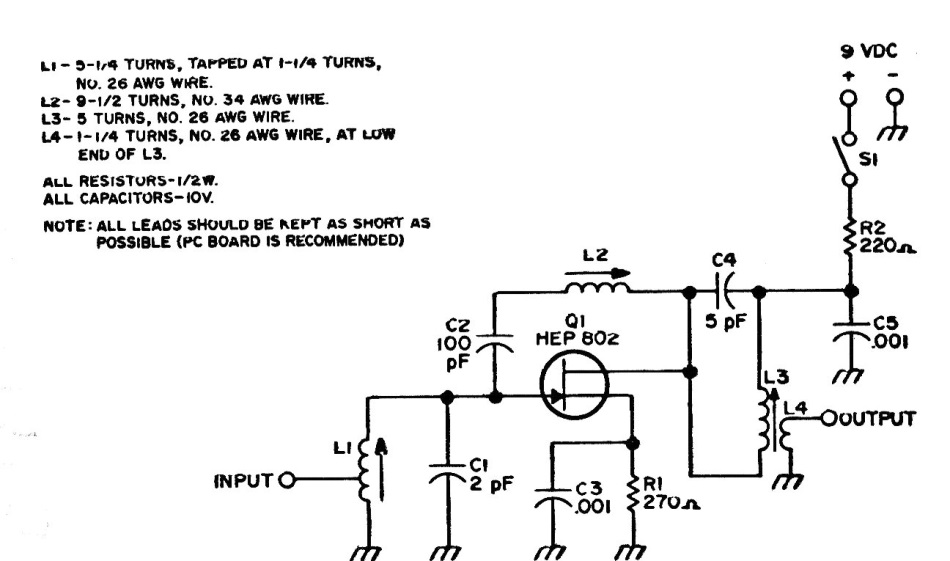
This amplifier for signals in the 2 m range that corresponds to 150 MHz was found in an American documentation from the 1980s. The FET can be a BF245.
This circuit was found in a 1977 documentation. With it we have the direct indication, through LEDs...
In the figure we have the CMOS logic test circuit developed with the 4049. The circuit activates three...
This headlight reminder for your car was found in the May 1970 issue of Radio Electronics...