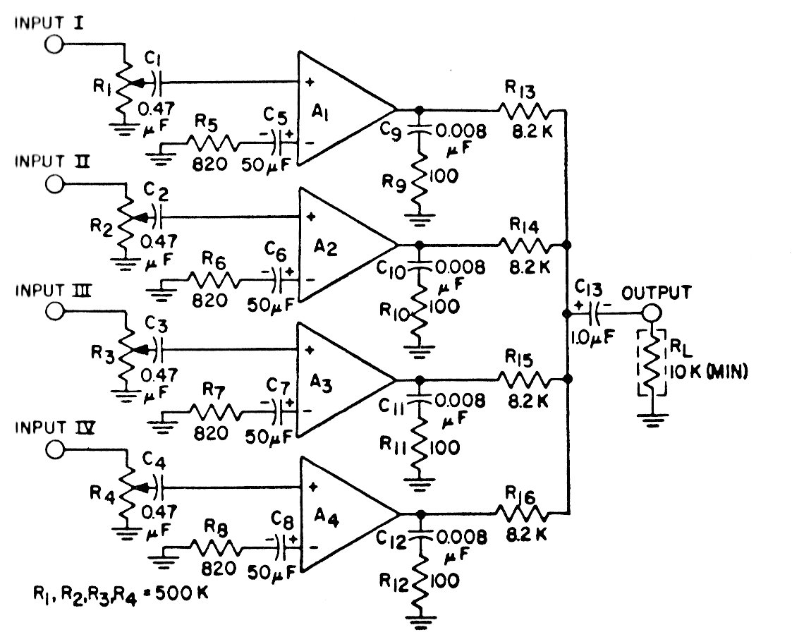
This circuit uses a quadruple operational amplifier of the time. The circuit is from the 70s but can be implemented with modern operators that require the use of a symmetrical source.
This power supply, found in an Argentine publication from the 1970s, uses a wire potentiometer of 25 W or more...
This circuit was found in a 1968 EEE and can be implemented with any current general-purpose transistor....
The transistors of this 12 V x 150 mA power source can be BC558 for PNP and BD135 for NPN. The...