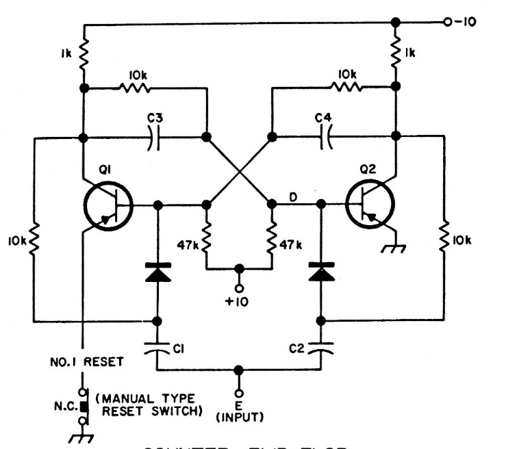
This flip-flop circuit with general purpose transistors was found in American documentation from the 1980s. The maximum operating speed depends on the transistors. Diodes are commonly used.
Using an old integrated circuit, this low power amplifier, on the order of a few watts, includes tone...
This wired intercom circuit was found in an English publication from the 80's. The integrated...
It is an ideal assembly to be implemented as work by students of digital electronics courses, as...