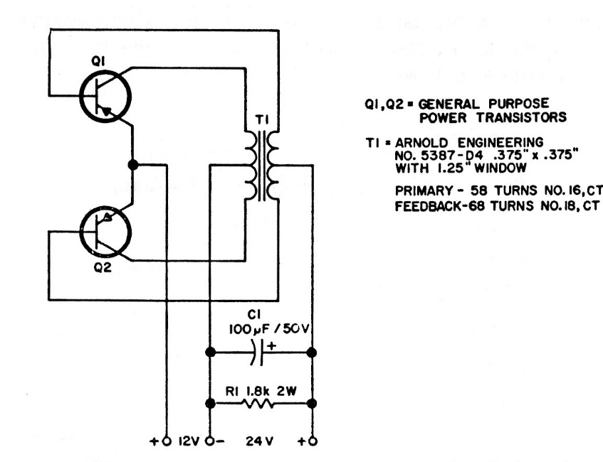
This circuit, with 1 A output, was found in a 1975 documentation. The transistors admit equivalents and the transformer has windings according to the voltages being worked.
This circuit triggers an alarm when the mains power is cut off. The circuit was found in the July...
This acutely tuned circuit was found in American documentation from the 1960s. The transistors are germanium...
This small AM transmitter was found in American documentation from the 1980s. Transistor support...