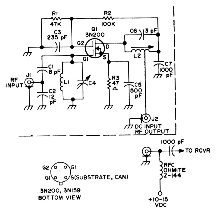
This circuit uses a double MOSFET, a component not very easy to obtain today. The circuit is from a documentation from the 1980s and details of the coils are not given, which must be calculated for the operating frequencies.
This circuit uses a double MOSFET, a component not very easy to obtain today. The circuit is from a documentation from the 1980s and details of the coils are not given, which must be calculated for the operating frequencies.