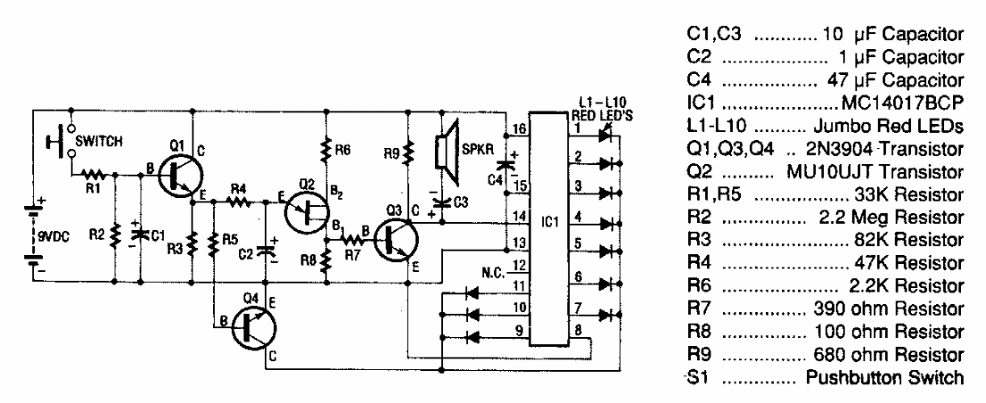
This electronic roulette circuit with 10 numbers was found in a Popular Electronics from the 80s. The circuit uses indicator LEDs and the transistors are general purpose.
When S1 is pressed, the circuit allows music to be played from an audio source on the telephone line....
This circuit was found in an Experimenters Handbook of the 1990s. The purpose of this circuit is to...
The action of this circuit, found in a 1977 amateur radio documentation, is like to a delay line....