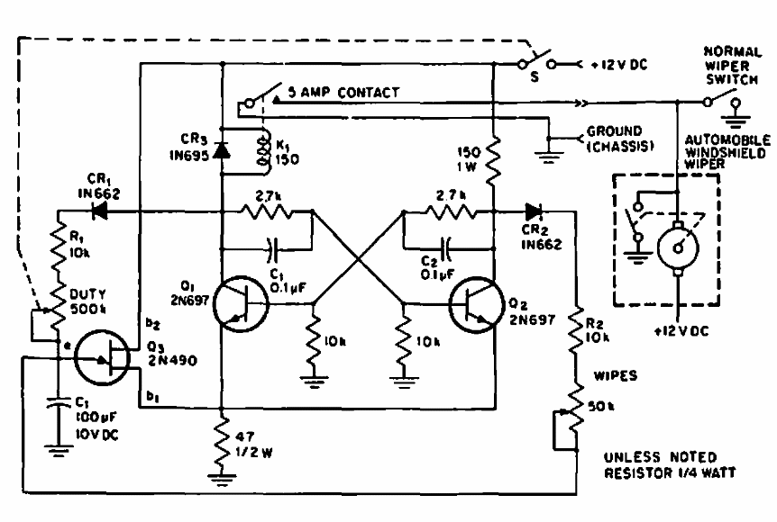
This circuit is from a 1969 EEE magazine. The transistors are from that time, but the circuit can be implemented with modern equivalents, such as 2N2646 for Q3.
Found in American documentation from the 1970s, this circuit is intended for amplifying analog TV...
Photoelectric cells can be used as sensitive light sensors. However, the low voltage they generate...
This circuit was found in a 90s American documentation. The circuit uses still common components...