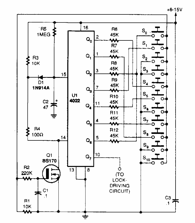
This CMOS circuit was found in a Popular Electronics from the 80's. The circuit consists of a counter that has its output activated when the selected key combination is pressed.
When S1 is pressed, the circuit allows music to be played from an audio source on the telephone line....
This circuit was found in an Experimenters Handbook of the 1990s. The purpose of this circuit is to...
The action of this circuit, found in a 1977 amateur radio documentation, is like to a delay line....