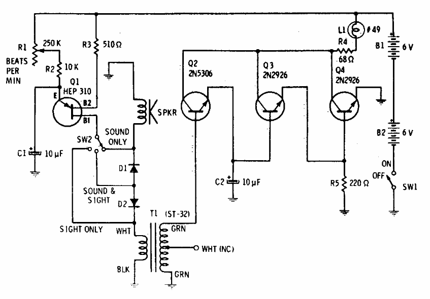
This circuit with its light source was found in American documentation two years 70. Or transformer of the type found in small transistor radios of the time. The transistors are general-purpose.
This circuit was obtained in a 1986 documentation consisting of an active frequency divider for...
OSEPP makes available through Mouser Electronics a series of 100% Arduino compatible robotic kits. The...
We found this circuit in a 1977 National Semiconductor audio manual. The integrated circuit is the...