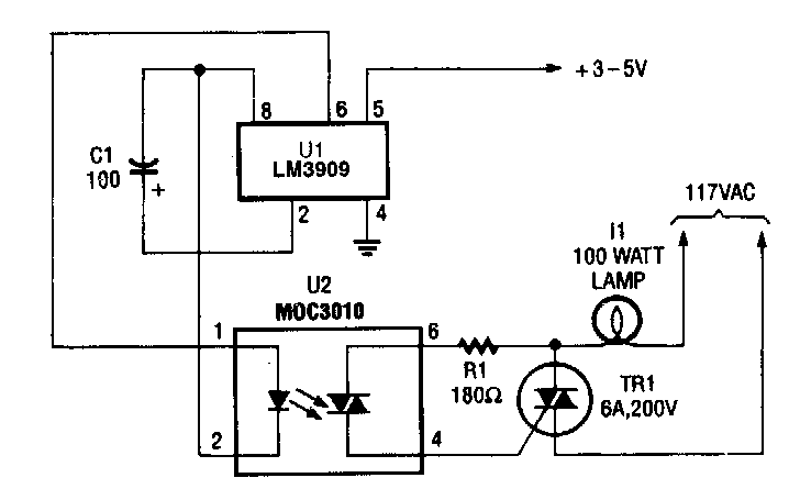
This circuit was found in a Popular Electronics from the 80s. With it we can make a 100 W incandescent lamp flash at a frequency determined by C1. The integrated circuit sector is isolated by an optical coupler.
This circuit was found in a Popular Electronics from the 80s. With it we can make a 100 W incandescent lamp flash at a frequency determined by C1. The integrated circuit sector is isolated by an optical coupler.