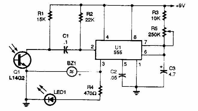
This circuit is the receiver for the previous transmitter modulated by an audio signal. The transducer is a ceramic capsule, in which case the circuit becomes ideal for telegraphic transmissions.
This circuit was obtained in a 1986 documentation consisting of an active frequency divider for...
OSEPP makes available through Mouser Electronics a series of 100% Arduino compatible robotic kits. The...
We found this circuit in a 1977 National Semiconductor audio manual. The integrated circuit is the...