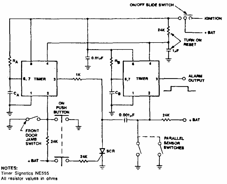
This car alarm was obtained in a Signetics documentation from the 1980s. The circuit uses the 555 and has a pulsed output to activate a relay that controls the horn. The sensors are parallel connected.
We find this circuit in an American 80's documentation. It makes use of IC sensor which is mounted...
This circuit is suggested by Texas Instruments and can be used on an assembly line to drive an...
This circuit can test quartz crystals from 3.5 to 90 MHz. Its supply can be made with voltages from 8...