Using operational amplifiers of the time, we found this circuit in documentation from the 90s. The configuration can be adapted to use modern operational amplifiers.
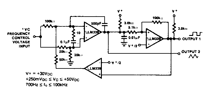
This circuit was obtained in a 1986 documentation consisting of an active frequency divider for...
OSEPP makes available through Mouser Electronics a series of 100% Arduino compatible robotic kits. The...
We found this circuit in a 1977 National Semiconductor audio manual. The integrated circuit is the...