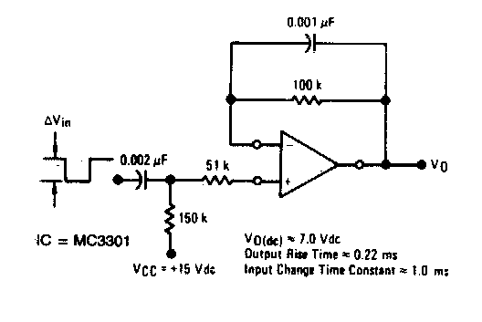
This differentiator for the negative front of the input signal can be elaborated based on any operational amplifier. The characteristics will depend on the components.

This differentiator for the negative front of the input signal can be elaborated based on any operational amplifier. The characteristics will depend on the components.
