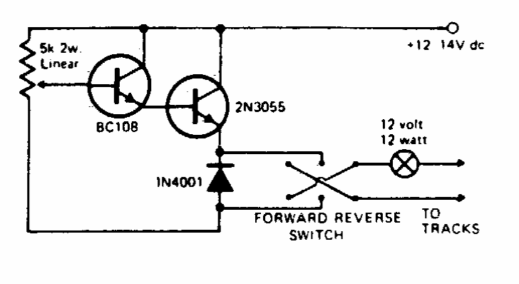
This circuit uses a wire potentiometer, but the current is much more intense in the control thanks to the 2N3055 which must be mounted on a heat sink.
March 2017 - The integrated circuit division of IXYS is presented the integrated relay that makes...
This circuit is from the time when cars used contact breakers. This 80's version measures the dwell...
We found this circuit in the Radio Electronics magazine of January 1986. The frequency is given by the...