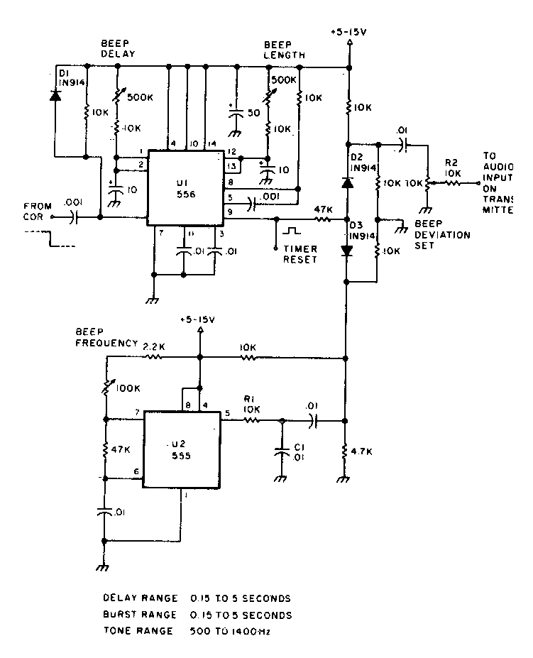
This circuit was found in documentation for radio amateurs of the 1980s. This is the so-called roger-beep, which is the beep that is transmitted when the talk-listen function is changed.
March 2017 - The integrated circuit division of IXYS is presented the integrated relay that makes...
This circuit is from the time when cars used contact breakers. This 80's version measures the dwell...
We found this circuit in the Radio Electronics magazine of January 1986. The frequency is given by the...