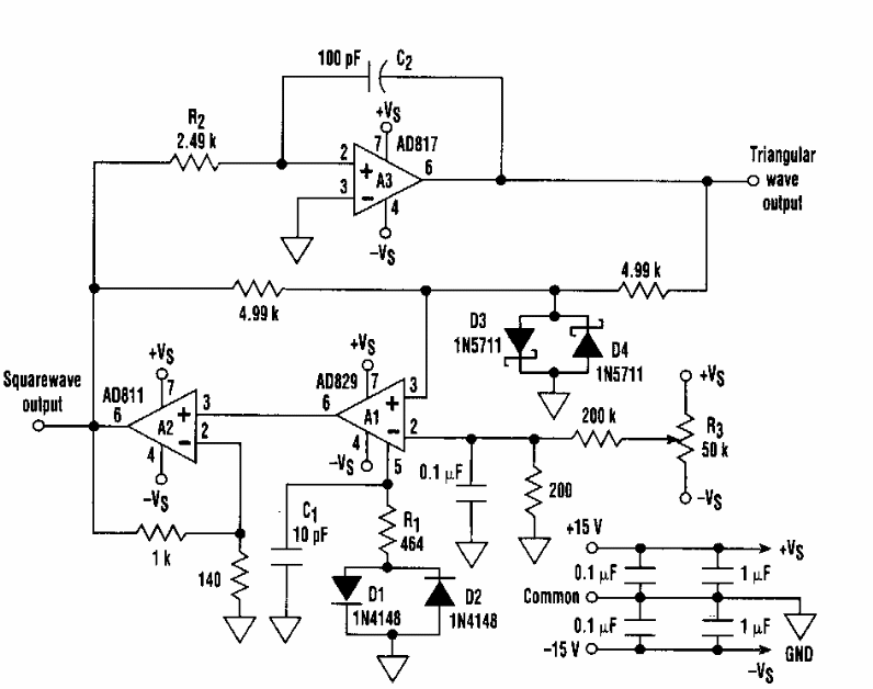
This circuit was found in ancient American documentation. It makes use of the operational amplifiers of the time, but it can be implemented with modern equivalents.
Found in American documentation from the 1990s, this circuit generates signals in the 350 to 500...
This instrument was obtained in a documentation for radio amateurs of 1976. The circuit measures...
This circuit was suggested by Motorola in 1980s documentation. The circuit employs an operational of...