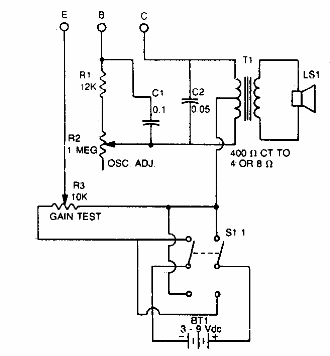
With this circuit it is possible to select transistors and their compliant test. Or circuit consists of an oscillator. Or transformer of the type found in old transistor radios.
March 2017 - The integrated circuit division of IXYS is presented the integrated relay that makes...
This circuit is from the time when cars used contact breakers. This 80's version measures the dwell...
We found this circuit in the Radio Electronics magazine of January 1986. The frequency is given by the...