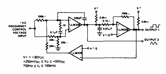
This circuit can generate signals up to 100 kHz. Found in documentation from the 1980s, it makes use of operatives of the time.
March 2017 - The integrated circuit division of IXYS is presented the integrated relay that makes...
This circuit is from the time when cars used contact breakers. This 80's version measures the dwell...
We found this circuit in the Radio Electronics magazine of January 1986. The frequency is given by the...