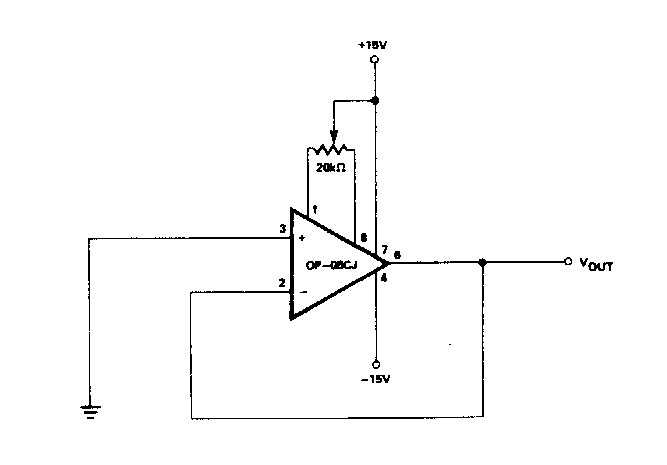
This precision reference circuit was found in documentation from the 1980s. It applies to other operational amplifiers. The power supply must be symmetrical.
Found in American documentation from the 1990s, this circuit generates signals in the 350 to 500...
This instrument was obtained in a documentation for radio amateurs of 1976. The circuit measures...
This circuit was suggested by Motorola in 1980s documentation. The circuit employs an operational of...