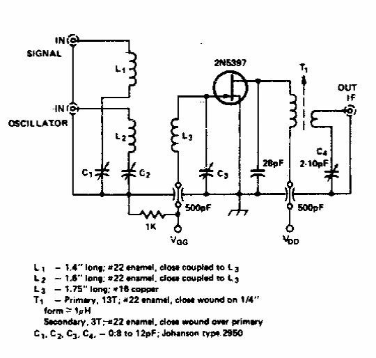
This circuit was found in a documentation from the 70s. The FET admits current equivalents and the frequency of the signals depends on the coils.

This circuit was found in a documentation from the 70s. The FET admits current equivalents and the frequency of the signals depends on the coils.
