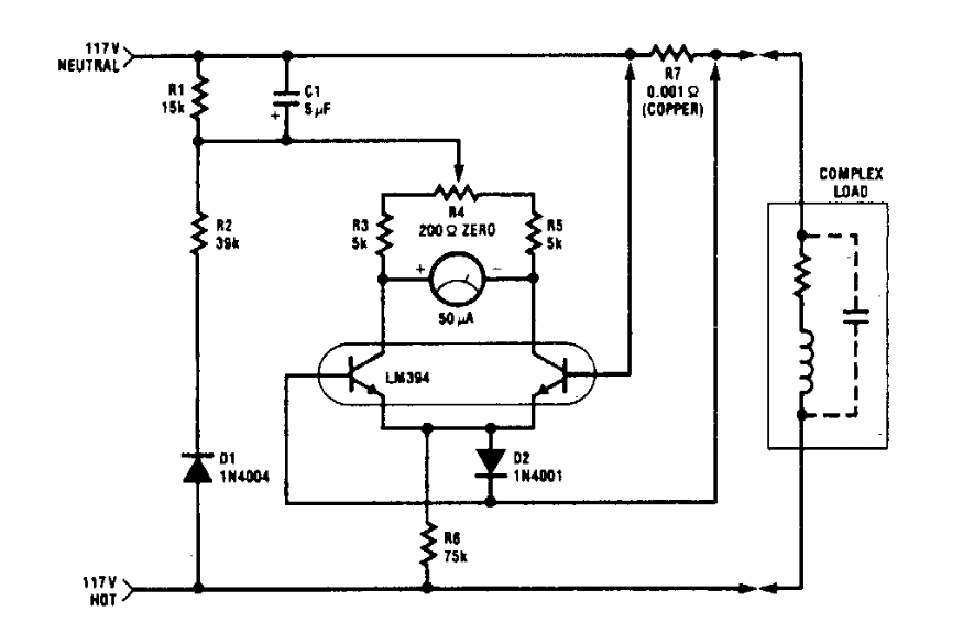
This circuit was obtained from a National Semiconductor manual from the 1990s. The circuit employs a pair of matched transistors, and the indicator is analog.
The circuit shown is suggested by National Semiconductor's Linear Applications Handbook. The base...
This circuit uses a pickup coil to take the signal from a telephone line without contacts. The circuit...
In this circuit, the transistors are NPN for general use and the phototransistors can be replaced by...