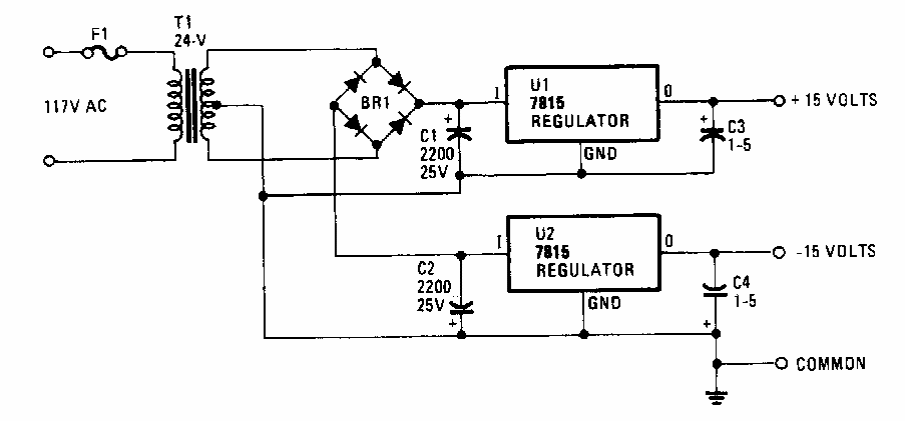
This circuit was found in a Radio Electronics from the 90's. The maximum current is 1 A.
This circuit was originally designed to maintain the temperature of a brooder at 41º C. However,...
This circuit was obtained from an old documentation, but as it uses still current components it can be...
This circuit was obtained from old documentation using Intersil components. The circuit provides...