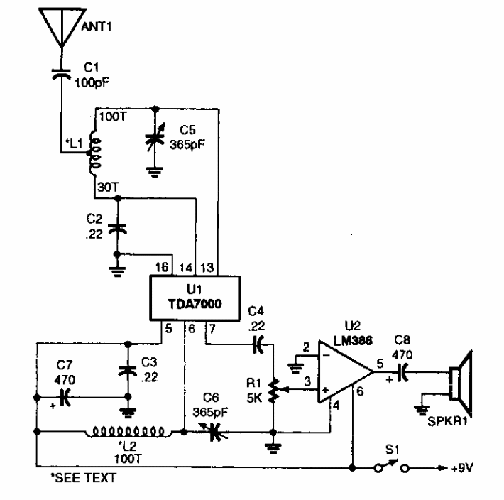
This simple radio was found in a Popular Electronics from the 90s. L1 and L2 have 100 turns on a toroidal core and L1 have a socket on the thirtieth turn.
The circuit shown is suggested by National Semiconductor's Linear Applications Handbook. The base...
This circuit uses a pickup coil to take the signal from a telephone line without contacts. The circuit...
In this circuit, the transistors are NPN for general use and the phototransistors can be replaced by...