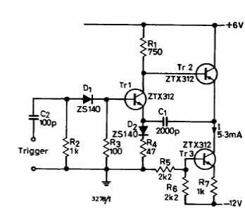
We found this circuit in the 1974 Ferranti transistor manual. The transistors are general purpose, and the timing is given by C1.

We found this circuit in the 1974 Ferranti transistor manual. The transistors are general purpose, and the timing is given by C1.
