This trip switch circuit was found in a Popular Electronics from the 90's. The frequency basically depends on C1 and R1.
It is like to the previous circuit with a lock that keeps the LED on at the end of the timer. The...
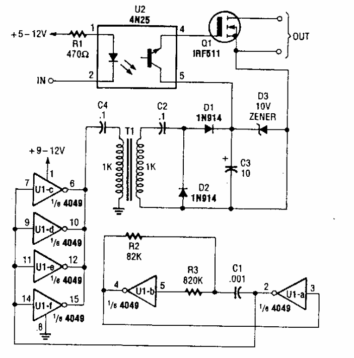
The presented circuit generates a signal in the form of a ladder that can be useful for surveying the...
This 2005 Linear Technology circuit has separate outputs for monitoring the charge and discharge...