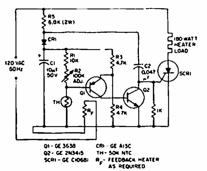
The purpose of this circuit found in a 1967 GE SCR manual is to control a heating element. The SCR must have current according to the controlled load.
It is like to the previous circuit with a lock that keeps the LED on at the end of the timer. The...
The presented circuit generates a signal in the form of a ladder that can be useful for surveying the...
This 2005 Linear Technology circuit has separate outputs for monitoring the charge and discharge...