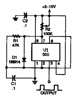
This 50% duty cycle configuration was found in a Popular Electronics from the 1990s. The operating frequency is given by C1.

This 50% duty cycle configuration was found in a Popular Electronics from the 1990s. The operating frequency is given by C1.