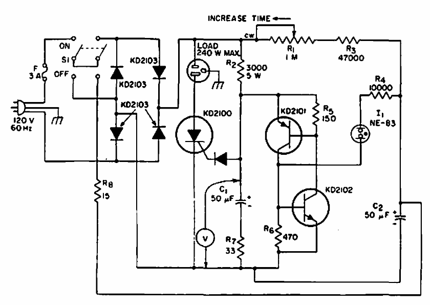
This circuit was found in a 1967 RCA documentation. The semiconductor components are from the time, and modern equivalents can be tried.
We found this configuration in a Radio Electronics from 1989. The circuit can be designed with...
This interesting configuration was found in a 1965s Electronic Design. It makes use of components of...
This circuit is from old American documentation intended to trigger the flash of a camera flash with...