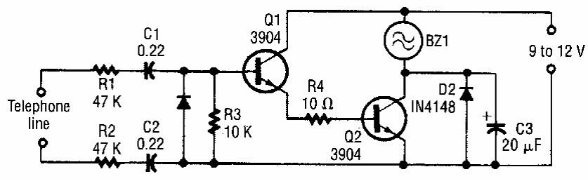
This circuit was found in an old Electronics Now. The transistors are general- purpose and the circuit is powered by an external source.
This circuit is from 1990 documentation. It can be implemented with BC548 transistors instead of...
When you speak into the microphone of this circuit, the sound produced in the speaker resembles a robot...
This circuit uses an operational amplifier that is no longer on the market but can be implemented with a...